



| 品牌 | BRT/佰瑞特 | 材质 | 316/304/201 |
| 名称 | 六角螺母 | 表面处理 | 未经处理 |
| 标准 | DIN934/GB6170 | 包装说明 | 塑料袋/纸盒 |
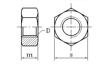
| 尺寸 | 例如:M3(内径3mm) | ||














![]() |
|||||
| 单位:mm | |||||
| 公称直径D | 螺距P | m | S | ||
| max | min | max | min | ||
| M1 | 0.25 | 0.8 | 0.55 | 2.5 | 2.4 |
| M1.2 | 0.25 | 1 | 0.75 | 3 | 2.9 |
| M1.4 | 0.3 | 1.2 | 0.95 | 3 | 2.9 |
| M1.6 | 0.35 | 1.3 | 1.05 | 3.2 | 3.02 |
| M1.7 | 0.35 | 1.4 | 1.15 | 3.5 | 3.38 |
| M2 | 0.4 | 1.6 | 1.35 | 4 | 3.82 |
| M2.3 | 0.45 | 1.8 | 1.55 | 4.5 | 4.32 |
| M2.5 | 0.45 | 2 | 1.75 | 5 | 4.82 |
| M2.6 | 0.45 | 2 | 2.15 | 5 | 4.82 |
| M3 | 0.5 | 2.4 | 2.55 | 5.5 | 5.32 |
| M3.5 | 0.6 | 2.8 | 2.9 | 6 | 5.82 |
| M4 | 0.7 | 3.2 | 3.7 | 7 | 6.78 |
| M5 | 0.8 | 4 | 3.7 | 8 | 7.78 |
| M6 | 1 | 5 | 4.7 | 10 | 9.78 |
| M7 | 1 | 5.5 | 5.2 | 11 | 10.73 |
| M8 | 1/1.25 | 6.5 | 6.14 | 13 | 12.73 |
| M10 | 1/1.25/1.5 | 8 | 7.64 | 17 | 16.73 |
| M12 | 1.25/1.5/1.75 | 10 | 9.64 | 19 | 18.67 |
| M14 | 1.5/2 | 11 | 10.3 | 22 | 21.67 |
| M16 | 1.5/2 | 13 | 12.3 | 24 | 23.67 |
| M18 | 1.5/2/2.5 | 15 | 14.3 | 27 | 26.16 |
| M20 | 1.5/2/2.5 | 16 | 14.9 | 30 | 29.16 |
| M22 | 1.5/2/2.5 | 18 | 16.9 | 32 | 31 |
| M24 | 2/3 | 19 | 17.7 | 36 | 35 |
| M27 | 2/3 | 22 | 20.7 | 41 | 40 |
| M30 | 2/3.5 | 24 | 20.7 | 46 | 45 |








通过 

