| 品牌 | 鼎霸 | 型号 | 30B | 配件适用对象 | 装载机 |
| 规格 | 直径150 |







































青州市李河机械厂座落在风景秀丽的历史文化古城-青州, 作为全国范围内最具有规模和市场潜力的空气加力泵企业之昌,我们以超行业标准的制作要求为客户提供更为优质和完善的配套产品,业务遍及各个省市自治区并与多家国内知名大型企业成为合作伙伴并得到客户的高度认可。
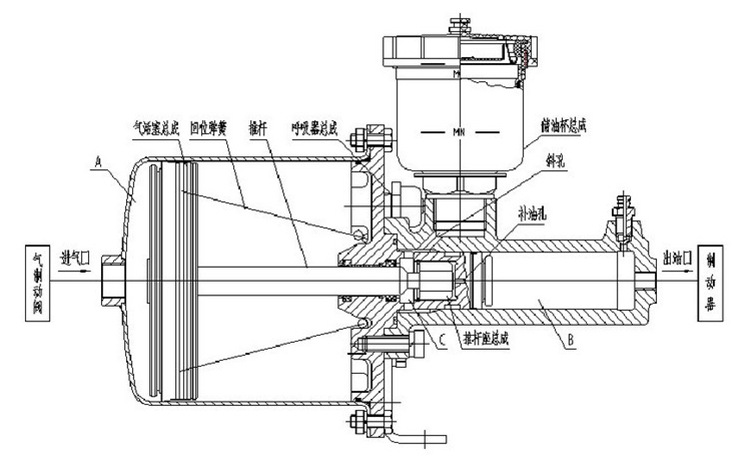
企业拥有完善科学的管理体系注重于研制开发新产品,并已取得两项国家专利,主要生产LH60 .LH30型空气加力泵及刹车阀和卸荷阀等各种工程机械配件。
青州市李河机械厂愿以“一流的质量,一流的服务” 与各界朋友真诚合作共创辉煌。
【联 系 人】 冯经理
【联系电话 】 13791875557 13280725558




通过 
